Need help?


Search OutdoorKing-Forum by entering Key Words Below



Who's Online Now
2 members (Red Rum, 1 invisible), 1,128 guests, and 198 robots.
Key: Admin, Global Mod, Mod
Online Spare Parts


Online Store


Newest Topics
Victa Vantage 2 stroke rescued from landfill
by MowingManiac - 25/10/25 09:41 PM
Decompression Valve carby connection
by Ghost - 25/10/25 07:11 AM
Victa 24 engine pulleys
by NormK - 19/10/25 08:49 PM
Rover Rancher 1766 headlight lens
by mm-mowers - 17/10/25 05:25 PM
Re rotomo crankshaft.
by Mops Mowers - 11/10/25 07:49 AM
Rotomo crank shaft
by Mops Mowers - 09/10/25 06:07 PM
Topic Replies
Victa Vantage 2 stroke rescued from landfill
by maxwestern - 26/10/25 07:37 PM
Decompression Valve carby connection
by NormK - 25/10/25 09:57 AM
Rover Rancher 1766 headlight lens
by mm-mowers - 23/10/25 06:03 PM
Victa 24 engine pulleys
by NormK - 22/10/25 09:06 PM
The Rover Pro-Cut Chronicles
by DFB - 19/10/25 09:36 PM
Re rotomo crankshaft.
by Mops Mowers - 12/10/25 08:32 PM
Morrison Rapier 710 Advice Please!!
by maxwestern - 12/10/25 07:35 PM
Rotomo crank shaft
by Mops Mowers - 10/10/25 10:16 PM
Previous Thread
Next Thread
Print Thread
Rate Thread
Hop To
Joined: Dec 2015
Posts: 61
Trainee
It's generally accepted that the pioneer and brains behind the Victa Empire, Merv Richardson, was driving force behind the concept and design of possibly the most iconic mower Australia has seen - the Victa Special.

Some recent investigations have uncovered an intriguing tale that may change how we view Merv's role in the design process of the Special. To fully grasp this complex tale, we need to journey back some years. One of Australia's most celebrated inventors of the 20th Century was a self-made man with no shortage of prestige and wealth. Sir George Julius invented the 'Automatic Totalisator', a contraption that was used by racecourse bookmakers to record and calculate bets, odds and dividends for punters. Sir George went on to become the chairman of the CSIRO. Sir George also had a son - George Yelverton Julius.

George Junior, or Pat, as he was known, had a privileged upbringing attending boarding and schools and eventually going on to study engineering at Sydney University. Despite all the opportunity afforded him, Pat's endeavours to follow in his father's footsteps as a famous inventor fell flat. After his father's death in 1946, he embarked upon a life of crime, and was presumably written out of his father's considerable fortune. As an arresting detective put it, "He's a likeable fellow, charming, and easy to deal with. But he was a spoilt boy who always liked things easy." The Tidy Thief, as he was dubbed by the papers, spent years in and out of prison for crimes across Australia, including burglary and fraud. Pat admitted to having committed 150 robberies since he shook free of his father's shadow. Pat went on to spend a good portion of his life in prison from 1946. In 1954, he was sentenced to eight years in prison and went on to serve his final sentence being released from Goulburn Jail in 1974.

And how does this sinister character come to play a part in the Victa saga? That is best explained by Pat's daughter, the wife of famous artist, Brett Whitley, Wendy:

Quote
"My father, George Yelverton Julius, was sent to jail for nicking Victa motor mowers when I was about 12 or 13, which announcement was made in the newspaper. Obviously, I was devastated. I didn't really know that much about him. Charismatic, apparently, and extremely charming, and women fell in love with him all over the place, but he mucked up a hell of a lot, and my mother basically threw him out when I was quite young."

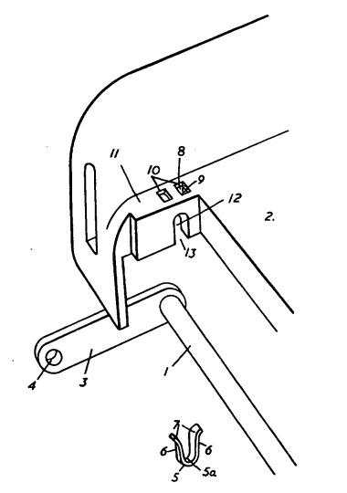
This tenuous link to the Victa name would be otherwise forgotten, if it were not for a curious revelation. A patent submitted by Victa Mowers Pty. Ltd. On the 14th of February, 1957, for an "improved adjustment means for altering the ground clearance of the cutting blades", lists the 'actual inventor' as one George Yelverton Julius. The Victa Special chassis design is centred on this feature.

[Linked Image]

[Linked Image]


How did Victa come to employ a still imprisoned inventor to design a key element of its flagship model? Why did the privileged son of a famous inventor choose to spend his time in prison conceiving of a ground-breaking design concept only to pass it on to the company that produced the goods he was imprisoned for stealing? One can only speculate. Did he feel such deeds would help reduce his sentence? Was he stealing Victas in the first place with an inventor's eye and the need for a prototype to experiment on? Did he hope to find his fortune through the hands of those that helped imprison him? All and any theories are possible.

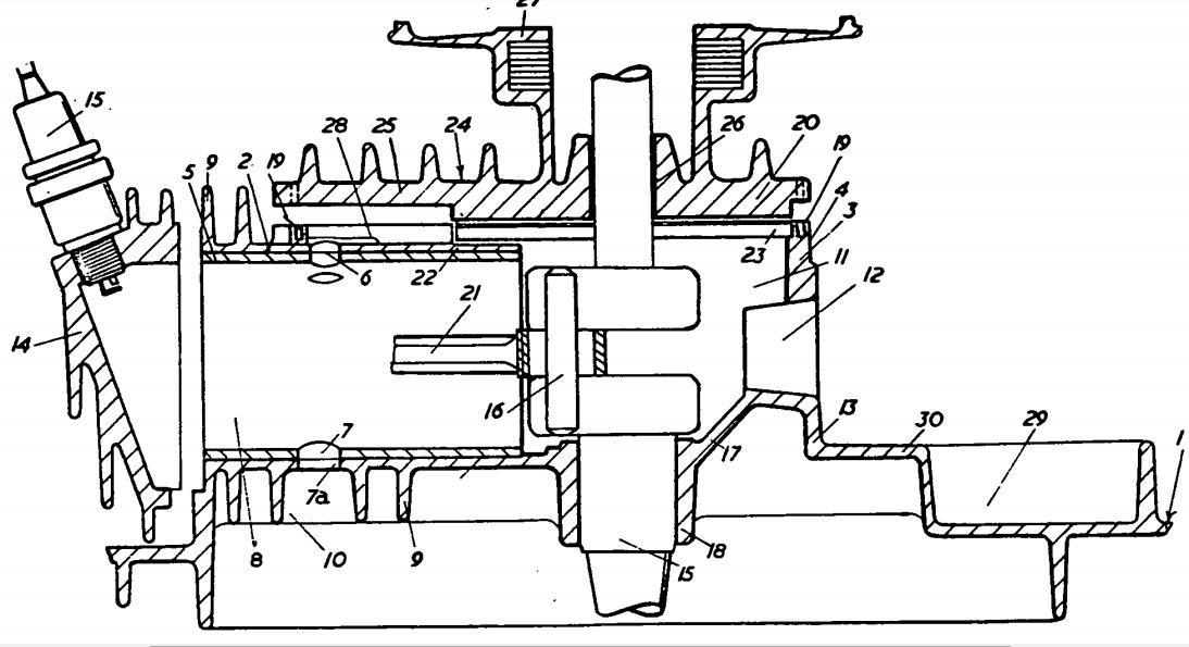
The story does not end there. On the 1st of November, 1957, a second patent was lodged by Victa, again listing the actual inventor as our curious Mr. George Yelverton Julius. This was a far more adventurous design for a complete internal combustion engine, with an internal cooling fan mounted above the blade carrier. The design similarities with many later Victa mowers, including the railed chassis design pre-dating the Sheerline are all quite intriguing and worthy of further investigation.

[Linked Image]

[Linked Image]


To what extent Merv Richardson owes his success to a gentleman thief is up for debate. Enjoy!

Portal Box 6
Joined: Dec 2015
Posts: 61
Trainee
For those further interested in Julius and his connection with Victa, here are the two remaining inventions/patents submitted by Victa in which he is noted as the inventor:

[Linked Image]

[Linked Image]

[Linked Image]

[Linked Image]

Joined: Nov 2013
Posts: 6,938
Likes: 304
Forum Historian
Hello bestseller

Thank you.
I think ODK recognise the importance of this story.
It is clearly new information - and there are really multiple stories here.

It would appear that George Yelverton Julius contributed to important
features of 1950s Victas (rotary knob height adjuster), axle clips used
on mowers to this day, and quieter engines. I see a basic Power Torque
concept in the 32608 patent. I have located these patents on AUSPAT and they
will be uploaded in due course.

I feel that this article should be moved into the History Forums.
What a great story!

All very interesting.
--------------------------
Jack



Joined: Nov 2013
Posts: 6,938
Likes: 304
Forum Historian
[Linked Image]

My recent articles need to give acknowledgement
to this great topic by bestseller some 5 years' ago.

It was these posts that got me interested to explore more.

https://www.outdoorking-forum.com.au/forum/u...yelverton-julius-talent-tragic-flaw.html

https://www.outdoorking-forum.com.au/forum/u...7/victa-and-george-yelverton-julius.html

[Linked Image]
This topic is now many years' old.
As an important document it is now locked.


Moderated by  Bruce, CyberJack, Gadge 

Link Copied to Clipboard
Forum Donation
These Outdoorking Forums have helped Thousands of people in finding answers to their equipment questions.

If you have received help, please consider making a donation to support the on-going running cost of these forums.

October
M T W T F S S
1 2 3 4 5
6 7 8 9 10 11 12
13 14 15 16 17 18 19
20 21 22 23 24 25 26
27 28 29 30 31
ShoutChat
Comment Guidelines: Do post respectful and insightful comments. Don't flame, hate, spam.
Newest Members
fordy, Mikey.Menace, Maudebs, Greenarrow01, stkarl
17,642 Registered Users
Forum Statistics
Forums145
Topics13,011
Posts106,980
Members17,642
Most Online16,069
Sep 19th, 2025
OutdoorKing Showcase
20 Bucks from FB Marketplace
20 Bucks from FB Marketplace
by Return Rider, February 20
Victa Cortina 2 Shed Find
Victa Cortina 2 Shed Find
by Return Rider, January 25
My Rover Baron 45
My Rover Baron 45
by Maxwell_Rover_Baron, April 16
SHOWCASE - Precision Mowers - 2021
SHOWCASE - Precision Mowers - 2021
by CyberJack, April 14
SHOWCASE – Atco Rotary – Paul C - 2020
HOME |CONTACT US
Powered by UBB.threads™ PHP Forum Software 8.0.0
(Release build 20240826)
Responsive Width:

PHP: 8.3.26 Page Time: 0.031s Queries: 23 (0.026s) Memory: 0.6429 MB (Peak: 0.6750 MB) Data Comp: Zlib Server Time: 2025-10-28 01:00:48 UTC
Valid HTML 5 and Valid CSS