Need help?


Search OutdoorKing-Forum by entering Key Words Below



Who's Online Now
3 members (Peter9231, MowingManiac, 1 invisible), 3,041 guests, and 385 robots.
Key: Admin, Global Mod, Mod
Newest Topics
Parts site unable to send contact
by James Maunder - 24/03/26 02:59 PM
Engine rebuild - Crankshaft float
by Bumps - 19/03/26 11:57 AM
Mower wheel ID.
by Mops Mowers - 18/03/26 03:10 PM
Shout Box
by mice_elf - 15/03/26 10:12 PM
Morrison Mini Rider.13A326JC318
by geobee - 14/03/26 08:36 PM
Victa Super 24/600
by Doug - 07/03/26 07:07 PM
Eaton Model 6/7
by mm-mowers - 06/03/26 08:27 AM
Topic Replies
Engine rebuild - Crankshaft float
by Bumps - 01/04/26 05:37 PM
Mower wheel ID.
by maxwestern - 28/03/26 11:35 AM
Eaton Model 6/7
by mm-mowers - 26/03/26 10:58 AM
Parts site unable to send contact
by James Maunder - 25/03/26 09:43 AM
Kirby tecumseh H25 identification..
by maolizi - 20/03/26 01:48 PM
Greenfield Drive belt keeps twisting
by Bruce - 20/03/26 09:50 AM
Morrison Mini Rider.13A326JC318
by Bruce - 19/03/26 11:52 AM
Shout Box
by Bruce - 16/03/26 08:10 AM
Early Morrison rotary mower
by Hawkeye - 15/03/26 06:29 PM
Previous Thread
Next Thread
Print Thread
Rate Thread
Hop To
#94086 11/11/18 12:59 PM
Joined: Nov 2013
Posts: 6,938
Likes: 316
Forum Historian
Hello ODK History Lovers
Greenfield Products only small walk-behind lawnmower was the Enduro.
Made in both domestic and commercial variants, the Enduro first appeared
in the late 1980s and remains in production to this day under new 2018
owner, Cox Industries.

This Greenfield walk-behind is a 19� alloy base, rear-discharge lawnmower.
It should be considered a top-end, high-quality design. The machine was
designed by Greenfield founder Theo Reinhold, and some patents
pertaining to the Enduro have appeared on ODK [see Related Links].

Enduro has proven a well-chosen name: given that it is a durable machine
and has been in production for over three decades! Durable and enduring �
Amazing!

Little has changed in the chassis design, [the addition of a
synthetic bag catcher], but engine variants have certainly been changed over
time, to reflect newer design, specification, and application.

[Linked Image]

TO BE CONTINUED ...

Portal Box 6
Joined: Nov 2013
Posts: 6,938
Likes: 316
Forum Historian
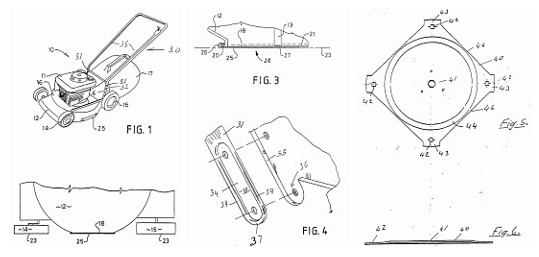
PART TWO � Patent
I think there is only one patent applicable to the Enduro: Patent 34531 of 1989.
This patent relates to �Improvements� to rotary mowers. Because this patent has
been covered elsewhere on these forums, I will be brief here [see Related Links].

Some improvements were not patentable, but go to improved specification. Here,
the most notable change was an over specified wall thickness of the tough alloy
base. Ever seen base cracks in other maker�s alloy base lawnmowers? shocked

[Linked Image]

The notable patented features are the �wear strip� on the cutting side of the base �
I guess, a sort of sacrificial strip to prevent base damage. An obvious feature
is the secure and rigid mounting of the handle to the sides of base.
[Many folks will recall the poor design of Victa pressed steel bases here,
where handles were mounted to the top of the under-specified thin steel
base - a rich example of poor design].


The final patent feature was the dished, square blade holder.
The idea was that less material would be used, facilitating less
inertia and therefore better governor response (maybe).

TO BE CONTINUED �

Joined: Nov 2013
Posts: 6,938
Likes: 316
Forum Historian
PART THREE � Brochures
I regret that little early documents have been recorded on the Enduros.
All I have are a couple of the last brochures produced by Greenfield Products.

[Linked Image]
[Linked Image]

Attachments
2016_enduro_brochure.pdf (2.88 MB, 9 downloads)
GREENFIELD ENDURO BROCHURE 2016
2017_enduro_brochure.pdf (502.91 KB, 9 downloads)
GREENFIELD ENDURO BROCHURE 2017
Joined: Nov 2013
Posts: 6,938
Likes: 316
Forum Historian
PART FOUR � Manual
This is the Operator and Pats Manual I got with my 2017 Enduro.
As always, available as a download for personal use.

[Linked Image]
[Linked Image]

Attachments
2017_enduro_manual.pdf (1.92 MB, 12 downloads)
2017 GREENFIELD ENDURO MANUAL
Joined: Nov 2013
Posts: 6,938
Likes: 316
Forum Historian
[Linked Image]
I think the first Enduros - from the 1980s - were painted 'Greenfield yellow'
and fitted with Briggs Quantum 4-strokes or Briggs 2-stroke engines.

Here is an early 2-stroke Enduro ...

Attachments
greenfield_gumtree_2018_01.JPG (50.63 KB, 55 downloads)
greenfield_gumtree_2018_02.JPG (43.99 KB, 55 downloads)
greenfield_gumtree_2018_03.JPG (48.41 KB, 55 downloads)

Moderated by  Alan M, CyberJack, Mr Davis 

Link Copied to Clipboard
Newest Members
RobNich, JLAU, Keiths01, Deedee, KevvyB
17,902 Registered Users
Forum Statistics
Forums145
Topics13,076
Posts107,348
Members17,903
Most Online16,069
Sep 19th, 2025
OutdoorKing Showcase
20 Bucks from FB Marketplace
20 Bucks from FB Marketplace
by Return Rider, February 20
Victa Cortina 2 Shed Find
Victa Cortina 2 Shed Find
by Return Rider, January 25
My Rover Baron 45
My Rover Baron 45
by Maxwell_Rover_Baron, April 16
SHOWCASE - Precision Mowers - 2021
SHOWCASE - Precision Mowers - 2021
by CyberJack, April 14
SHOWCASE – Atco Rotary – Paul C - 2020
SHOWCASE – Atco Rotary – Paul C - 2020
by CyberJack, December 28
HOME |CONTACT US
Powered by UBB.threads™ PHP Forum Software 8.0.0
(Release build 20240826)
Responsive Width:

PHP: 8.3.30 Page Time: 0.089s Queries: 28 (0.082s) Memory: 0.6431 MB (Peak: 0.6935 MB) Data Comp: Zlib Server Time: 2026-04-02 23:26:56 UTC
Valid HTML 5 and Valid CSS