Need help?


Search OutdoorKing-Forum by entering Key Words Below



Who's Online Now
1 members (MowingManiac), 1,806 guests, and 584 robots.
Key: Admin, Global Mod, Mod
Online Spare Parts


Online Store


Newest Topics
Bushranger cylinder mower
by Clacker - 22/01/26 05:38 PM
Acrher Chainsaw Chain
by AVB - 21/01/26 09:00 AM
Model number - where is it?
by PhilC2026 - 17/01/26 12:40 PM
Hk25, spec no L1033, victa model 20, 4 stroke help
by Jmckenzie - 13/01/26 10:38 PM
Bushranger line trimmer bogs on full throttle
by Koii - 12/01/26 12:06 PM
What bolt size to mount a B&S engine
by SuziRova - 10/01/26 09:51 PM
Topic Replies
Bushranger cylinder mower
by Clacker - 22/01/26 05:38 PM
Sanli Redback Ret Spring
by maxwestern - 22/01/26 05:15 PM
Acrher Chainsaw Chain
by NormK - 22/01/26 02:05 PM
Victa 2-Stroke: Looks Like the End
by NormK - 21/01/26 09:55 PM
Model number - where is it?
by maxwestern - 17/01/26 08:30 PM
Rover Thoroughbred Model 85
by maxwestern - 14/01/26 12:01 AM
Hk25, spec no L1033, victa model 20, 4 stroke help
by maxwestern - 13/01/26 11:47 PM
Previous Thread
Next Thread
Print Thread
Rate Thread
Hop To
Joined: Nov 2013
Posts: 6,938
Likes: 310
Forum Historian
Hello ODK members,

This article details an amazing mower - The Pope 320-01 Rotary.
In particular, I explore and speculate on why this beautiful, streamlined machine had such a
short production life. I look at the patents surrounding this machine, and the reasons for the
machine's demise.

CONTEXT
By this time, Pope Products had considerable experience in lawnmowers, having produced Australia's most
successful side-wheel hand-mower of the second-half of the 20th Century, the Wimbledon (1949).
Pope quickly offered powered variants in the form of the Centre Court (electric) and the Pope
Side-wheel Motor Mower (petrol).

By the mid-1950s, however, it would have been clear that the rotary revolution was well under way.
At this time, Pope would have contemplated and started the design of their first rotary - the Model 320-01.
This is the rarest of Pope Rotaries and the most desirable. It lasted just one season!

Pope's first foray into rotary lawnmowers produced the Pope Motor Mower for 1957.
It was an 18 inch side-discharge lawnmower, with aluminium base and engine cowling.
It had a modern 'streamliner' look and was powered by a new rotary valve two-stroke engine of 125c.c.
It was painted buttercup yellow and it was a handsome machine.

Here is a picture (dated 1957) of the machine outside Pope's Western Australian factory.
[Linked Image]

Information is scarce on these machines.
Here is a rare full-page advertisement:-
[Linked Image]
[Linked Image]

TO BE CONTINUED IN PART 2...

Portal Box 6
Joined: Nov 2013
Posts: 6,938
Likes: 310
Forum Historian
PART 2 - PATENTS - Introduction

This was a design that was extensively planned and thought out.
What Pope lacked was foresight as to how Australian lawnmower design would dramatically change
over the next few years.

The first Pope incorporated no less than seven Pope patented features!
Here is a detail extract from the late 1957 advertisement:-

[Linked Image]

Here is a summary of those patent Applications. I discuss each one in subsequent posts.

[Linked Image]

NOTE: The 320-01 would be replaced with a completely new pressed steel chassis from 320-02 onwards.
The 'Steel 320s' would not incorporate the enclosed silencer or vertical pull rope starter. They would
incorporate a more conventional cowled engine and windrower as they became side-discharge catcher lawnmowers.

* The Steel 320s would use the most significant patents covering sealed wheels and the cutter disc.
I supply copies of the last two - the wheels and the cutter disc - in this forum topic.

TO BE CONTINUED ...

Joined: Nov 2013
Posts: 6,938
Likes: 310
Forum Historian
[1] Cowled Engine - 30128/57

The spiel on the aluminium engine cowling says that it 'directs a blast of cooling air over all working parts'.
This was achieved by the flywheel fan producing airflow within the enclosure. I guess the air egress was
at the rear of the cowl but I have no evidence of that.

What is clear is that this patent application design was not an enduring one.
Better engine cooling could be achieved by a more close-fitting cowl. A secondary cowl could then be
used for aesthetic purposes. Here is a The Old Machinery Magazine photograph (Eric Schulz):-

[Linked Image]

[2] Graduated Cutting Height - 30127/57
For many years, Pope followed the American trend of offering individual wheel height calibration.
I cannot find this specific patent, but I speculate that it involved the clear markings of height on a
visual scale. This patent feature would be short-lived, with Australian lawnmower designs favouring
one-point lever height adjustment.

[3] Windrower - 30130/57
This is a patent feature that reveals a patent defect in this machine.
It was never designed to collect grass! It could not be equipped with a grass catcher that would
become so popular in the ensuing early years of the 1960s and then beyond.

The idea was that 'All cuttings' can be piled into a tidy windrow for easy pick up, or chopped fine
and broadcast evenly for mulch. The patent cutter disc (discussed below) and the skirted base
were clearly designed to make this an early rotary mulching mower.

TO BE CONTINUED ...

Joined: Nov 2013
Posts: 6,938
Likes: 310
Forum Historian
[4] Totally Enclosed Silencer - 30126/57

This was a muffler build into the mower body.
I have not been able to locate this patent for a more exact understanding. From the photographs (below)
it appears similar in concept to mufflers used on the Victa cast base rotaries of the time.

Pope did not use this idea on later rotaries. The later steel base did not lend itself to the idea,
and Pope probably found as good a solution by the fitment of a conventional muffler whose outlet was
directed down to the cutting chamber.

[Linked Image]

[5] Vertical Pull Starter - 30129/57
The 'exclusive Pope vertical pull starter' was not going to go anywhere by 1957.
It was a pressed steel pulley that enabled a cord lanyard to be wrapped around it such that the
rope could be pulled both outwards and/or upwards.

The advent of automatic recoil starters at this time made this feature dead in the water.
Within a couple of years most lawnmowers (with little exception) would have automatic recoil starters,
or wind-up impulse or wind-up trip-release starters.

TO BE CONTINUED ...

Joined: Nov 2013
Posts: 6,938
Likes: 310
Forum Historian
[6] Forced Up-Draught Cutter Disc - 26193/57

The Up-Draught Cutter Disc was clever and revolutionary.
It would be used on Popes throughout the 1960s and would influence blade holder designs for mulching mowers.
I have located this patent and its contents are revealing.

Pope recognised that @the majority of troubles with cutter discs, [was] the blades are attached to
the bottom surface of the disc, constituting a major projection there and consequently being highly
vulnerable to damage by heavy impact forces.@

The new blade holder was designed to improve the 'cutting action'.
A holder with in-built aerodynamic flutes would, 'increase the so-called suction effect of the blades'.
Also, the new design would shield the blade fasteners from impact damage and degradation.
The blades were 'swing-back' for engine shock protection.

A secondary purpose was to increase cooling to the engine and help clear debris from the
underside of the base.

So efficient was this cutter disc that flat reversible blades (not fluted) were used on this model,
and subsequent models fitted with large capacity grass catchers.

[Linked Image]
[Linked Image]


Attachments
1957__patent_26193.pdf (377.29 KB, 14 downloads)
POPE CUTTER DISC PATENT
Joined: Nov 2013
Posts: 6,938
Likes: 310
Forum Historian
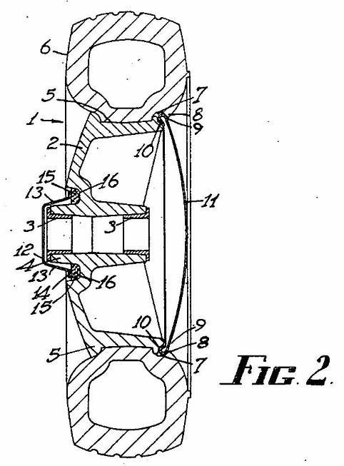
[7] Sealed Wheel Bearings - 26192/57

The wheel design and style was a clear signifier of Pope lawnmowers of the period.
Their design was a good one that passed the test of time over decades.

It was not rocket science. Pope realised that the real damage done to wheels was through abrasive dirt
ingress to the bearing surfaces. The pope design sealed the wheel from dirt and dust, on both sides,
for long life.

[Linked Image]
[Linked Image]



Attachments
1957__patent_26192.pdf (268.24 KB, 2 downloads)
POPE SEALED WHEEL PATENT
Joined: Nov 2013
Posts: 6,938
Likes: 310
Forum Historian
SIGNIFICANCE

The 320-01 is surrounded in mystery. It is merely referenced in Parts Books, but I have never
found any detail of the first model, or any exploded view of the chassis.
It was as though Pope denied this machine existed.

[Linked Image]

The 320-01 lawnmower lasted but one season. The newer pressed-steel base was introduced in
late 1958, and it is pressed steel bases that would define pope lawnmowers - side and rear discharge -
for decades to come.

In terms of timing, this radically styled mower lacked many of the features that would be expected of
a modern lawnmower in the years ahead:

- Base not optioned for a side-catcher
- Base could not accommodate a 4-stroke mounting
- The lanyard rope start was essentially obsolete
- Base and engine cowl castings were too complex (and expensive)

On the positive side, Pope introduced the most advanced blade disc of its day,
in terms of shock protection and blade fastener serviceability. It also used a lawnmower wheel suited
to the hostile mowing environment of dust and dirt.

The 320-01 would have made a great mulching mower; but mulching mowers would only become popular
decades later. It was a mower both ahead and behind its time.

The rest is history.
------------------------------------
JACK.

Joined: Nov 2013
Posts: 6,938
Likes: 310
Forum Historian
[Linked Image]

Nothing short of a magnificent full restoration was done by member
Pope on his 320-01. See the link for more details.

[Linked Image]
[Linked Image]
[Linked Image]

Joined: Nov 2013
Posts: 6,938
Likes: 310
Forum Historian
[Linked Image]

Member Paul C has acquired an original condition machine.
Here are two videos of his machine.

[video]
[/video]

[video]
[/video]

Joined: Nov 2013
Posts: 6,938
Likes: 310
Forum Historian
[Linked Image]

Pope 320-01 Restoration by member Pope HERE.
Pope 320-01 As found by member Paul C HERE.
Pope Model 320 Manual HERE.

[Linked Image]

The History Forum welcomes new information on the first Pope rotary.
If you would like to comment then have your say in the Old Soap Box HERE.

---------------------------------------
THE ODK HISTORY FORUM


Moderated by  Alan M, CyberJack, Mr Davis 

Link Copied to Clipboard
Forum Donation
These Outdoorking Forums have helped Thousands of people in finding answers to their equipment questions.

If you have received help, please consider making a donation to support the on-going running cost of these forums.

ShoutChat
Comment Guidelines: Do post respectful and insightful comments. Don't flame, hate, spam.
Newest Members
KJT78, VNDRFNK, emiks-3, Larko, Ehdik
17,805 Registered Users
Forum Statistics
Forums145
Topics13,058
Posts107,236
Members17,805
Most Online16,069
Sep 19th, 2025
OutdoorKing Showcase
20 Bucks from FB Marketplace
20 Bucks from FB Marketplace
by Return Rider, February 20
Victa Cortina 2 Shed Find
Victa Cortina 2 Shed Find
by Return Rider, January 25
My Rover Baron 45
My Rover Baron 45
by Maxwell_Rover_Baron, April 16
SHOWCASE - Precision Mowers - 2021
SHOWCASE - Precision Mowers - 2021
by CyberJack, April 14
SHOWCASE – Atco Rotary – Paul C - 2020
HOME |CONTACT US
Powered by UBB.threads™ PHP Forum Software 8.0.0
(Release build 20240826)
Responsive Width:

PHP: 8.3.28 Page Time: 0.059s Queries: 37 (0.049s) Memory: 0.6839 MB (Peak: 0.7603 MB) Data Comp: Zlib Server Time: 2026-01-22 21:44:30 UTC
Valid HTML 5 and Valid CSS