1 members (tyro185),
2,220
guests, and
237
robots. |
Key:
Admin,
Global Mod,
Mod
|
|
|
Joined: Oct 2007
Posts: 20
Novice
|
Hi, Had some grass build up around the gear head output shaft so pulled off the cutting head but found the shaft wasn't as free as what I thought it should be. Found some grass had got between the cover and up into the bearing. After removing the grass found the bearing seal gone, and even small seal spring (I assume) mashed into bearing, so pulled all that out. Removed the gear head and sprayed with wd40 to clean out the bearing and got it freed up as it should. On the input side is a circlip holding the bearing in place, but on the output side didn't see one. Needed to finish, so packed the bearing full of grease to get me through. Now the question.. How do I remove the output bearing so I can replace it? Thanks, Chris.
|
|
|
|
Joined: Jan 2009
Posts: 6,926 Likes: 10
Pushrod Honda preferrer
|
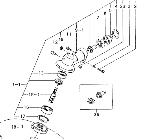
Chris, I think we are going to need photographs showing detail of the output shaft bearing to be able to delve into this one. Kubota brushcutters are not well covered on the internet, and the chances of finding someone who has dismantled a D210 gear head, and remembers the details, are not all that good. Here is a generic gear head (happens to be from a Tanaka, but they probably didn't make it themselves anyway): ![[Linked Image]](https://www.outdoorking-forum.com.au/forum/uploads/usergals/2012/11/full-2772-8806-generic_brushcutter_gear_head.png) As you can see, on this one the output shaft's outer bearing (16) is retained by a circlip (17). After you remove the circlip, it appears you can pull the output shaft (15) out and the bearing will be pulled out by the shaft. At this point we have three possibilities: 1: You have not seen the circlip, but it is there. 2. The circlip was ripped out and flung into the distance when everything was getting twisted and mashed on your output shaft. 3. Your gearhead is of a different design and does not use a circlip. As I said, I think that unless we have a member who is familiar with your brushcutter despite its relative rarity, we are going to have to have a brushcutter guy such as Bruce recognise your gear head as being a generic design. That means we will need detailed pictures to get anywhere with this.
Last edited by grumpy; 14/11/12 09:55 AM. Reason: Add identification numbers
|
|
|
|
Joined: Jul 2005
Posts: 6,362 Likes: 10
Administrator - Master Technician
|
Hi grumpy, we are on the same page here....I have just contacted Bruce....just waiting for him to come back to me. Hopefully he will have some info. 
Please do not PM me asking for support. Please post your questions in the appropriate forums, as the replies it may receive may help all members, not just the individual member. Kindest Regards, Darryl
|
|
|
|
Joined: Oct 2007
Posts: 20
Novice
|
It looks like the kubota one is a bit different. It looks like 18-1 on the diagram above is a lock ring from other information I have seen on the net, but this isn't on mine. Is the bearing (16) normally sealed? Anyway time for a pic. of mine. ![[Linked Image]](https://www.outdoorking-forum.com.au/forum/uploads/usergals/2012/11/full-1917-8810-057.jpg) As you can see, there is no seal between the grass and the bearing... I am now thinking that there should be a rubber seal from the outer black ring with the inner part of the seal sealing on the collar that is off in the pic as it sits of the output shaft. Maybe i'll try and remove the rest of the black bit (which i think might be the remains of a seal) out and see if there is a circlip under it holding the bearing in place, and hope i'll be able to buy a seal and bearing to replace them. There is another extension (not pictured) that screws onto the output shaft that the head attaches to for the kubota. Does that help anyones memory? It is a great reliable machine....that starts first go....maybe thats why there isn't so many of them around...probably not enough money in selling them as they were too reliable!! Thanks for the help.
Last edited by Chris E; 14/11/12 08:07 PM.
|
|
|
|
Joined: Jan 2009
Posts: 6,926 Likes: 10
Pushrod Honda preferrer
|
There is an oil seal on your machine, and it looks as if it runs on the outside of a sleeve that is not fitted in your picture. (The seal has a black rubber lip that seems to be rather chewed up.) The sleeve that fits inside the seal lip may be part of a fitting the cutter mounts on.
If you remove the three hex-plus-Phillips-head screws that are holding that pressed steel cover/retainer plate on, the retainer plate should lift off and most likely the oil seal and its mounting will lift off as well. Then you'll be able to see what holds the ball race in. Since there is an oil seal further down the shaft than the bearing, I doubt the ball race is supposed to be the sealed type. My current guess would be that they have used a separate oil seal and an open ball race so that the seal will be easy to replace, without having to pull out the output shaft and ball race to do it. It should just be a few minutes work, depending on how/whether the oil seal can be removed from the metal shell around it. If that is how it works, the oil seal is deliberately a throw-away item. It looks to me as if the gear head is supposed to be filled with oil. As soon as you see oil around the output shaft and cutter disk, you are supposed to replace the seal then refill with oil. That would be somewhat similar to the way some of the big tractor-mounted slasher gearboxes work. Whatever you do, people will get things wrapped around the shaft, and that will ruin the oil seal or the side-plate of a sealed bearing. The simplest solution is to make it easy for the operator to see that this has happened, and make the seal fairly easy to replace. Of course if the machine continues to be operated without oil, or with dirt inside the gearhead, all four bearings plus the pair of bevel gears will be ruined very quickly.
At the moment it looks as if the main mystery is in the missing cutter-mounting fitting, which is supposed to run inside the oil seal, and keep the dirt out. Is the missing sleeve that shiny metal tube just below the gear head in your picture? Or has somebody removed the original cutter mounting and fitted some aftermarket item at some point along the way? That might explain everything that has gone wrong since.
Last edited by grumpy; 15/11/12 04:13 AM. Reason: Add detail
|
|
|
|
Joined: Dec 1999
Posts: 5,386 Likes: 34
Repair Junkie
|
Regards, ![[Linked Image]](https://www.outdoorking-forum.com.au/forum/images/members/mower-monsterw.jpg) Bruce Please do not PM me asking for support. Post on the forums as it helps all members not just the individual.
|
|
|
|
Joined: Oct 2007
Posts: 20
Novice
|
Thanks Guys...
"Is the missing sleeve that shiny metal tube just below the gear head in your picture?" - Yes that explains it now. There is another bit that covers the whole area (I assume to protect the seal) which mounts on the output shaft, but obviously a bit too much grass had got through and wrecked the seal. Taking off the three phillips head screws just removes the cover plate and doesn't expose anything else (tried that the other day). Looks like Bruce's picture is spot on, need to lever out the seal to get at the circlip, which is what I was going to try next.
One last question...the picture says to fill with grease...Grease or Oil and does it need to be anything special or will high temp bearing grease suffice?
Thanks again.
Chris.
|
|
|
|
Joined: Jan 2009
Posts: 6,926 Likes: 10
Pushrod Honda preferrer
|
Normally high temperature bearing grease is used for relatively low-speed shafts, especially front wheel bearings on cars (which get very hot due to the heat transferred from the brake). For the gear head I would use a standard general purpose automotive chassis grease, if I couldn't find out what the manufacturer recommends specifically. In Bruce's instruction manual, Shell Retinax EP2 is prescribed. That is a standard general purpose automotive chassis grease, but happens to have Extreme Pressure oil mixed with its soap base, rather than a straight mineral oil. EP oil is formulated containing an extreme pressure additive, usually sulphur, to act as an anti-seize agent in situations such as hypoid rear axle gears. The sulphur is extremely unhelpful to any machinery containing copper, bronze, brass etc., so I tend to avoid EP oils anywhere I can. However in this case a pair of spiral bevel gears is involved, and I doubt any copper is present, so the EP2 seems a good choice of grease.
If the gear head is grease-lubricated, at least one possible reason for using an open bearing with a separate oil seal becomes clear. If the owner installs a grease nipple into the lubrication plug hole and then applies a grease gun too vigorously, the oil seal will pop out without damaging anything inside the gear head. If a sealed bearing retained by a circlip was used, very high pressures would develop in the gear head and probably crack the housing.
Last edited by grumpy; 15/11/12 06:27 AM. Reason: Add detail
|
|
|
|
Joined: Oct 2007
Posts: 20
Novice
|
After popping out the remaining bit of the seal, found the cir clip. Next bit of fun was removing the shaft.... obviously according to Bruce's pictures showed using slide hammer...which I don't have, so tried levering it out and didn't get anywhere. So I ended up putting some washers over the output shaft and screwed on the extension/adapter for the trimmer head, whilst holding the washers with the spline in the vice to stop the shaft turning and was able to pull it out that way, bit by bit as I added more washers. ![[Linked Image]](https://www.outdoorking-forum.com.au/forum/uploads/usergals/2012/11/full-1917-8864-imag0635.jpg) Then I had the two bits separated. Note the output gear can't be removed as it sits behind the input one. ![[Linked Image]](https://www.outdoorking-forum.com.au/forum/uploads/usergals/2012/11/full-1917-8865-imag0629.jpg) ![[Linked Image]](https://www.outdoorking-forum.com.au/forum/uploads/usergals/2012/11/full-1917-8866-imag0628.jpg) Getting bearing off was straight forward. Bits and my helper...the junior tinkerer...not much left of the old seal compared to the new one... ![[Linked Image]](https://www.outdoorking-forum.com.au/forum/uploads/usergals/2012/11/full-1917-8867-imag0632.jpg) ![[Linked Image]](https://www.outdoorking-forum.com.au/forum/uploads/usergals/2012/11/full-1917-8868-imag0633.jpg) Found I had some of the correct EP2 grease that I had inherited from someone. Next problem....putting the bearing on was straight forward, but trying to get the shaft to line up into the output gear spline and the end bearing was a pain. After lots of attempts thought about removing the input shaft, but none of my cir clip pliers reach deep enough to be able to remove it......eventually was able to get it to line up and then able to press it back together in the vice. In the process though I have stripped some thread from the aluminium output extension....:-(
|
|
|
|
Joined: Oct 2007
Posts: 20
Novice
|
Does anyone know if you can get LH thread heli coils that I could use to fix the output extension?...or any other ideas?...I assume I won't be able to buy one...maybe have to get one made...
|
|
|
|
Joined: Jan 2009
Posts: 6,926 Likes: 10
Pushrod Honda preferrer
|
I think left-hand helicoils are used for bicycle pedals when the thread strips from aluminium cranks, so bicycle repairers may have that one specific size. Here is a source for left hand helicoil kits, both inch and metric: http://www.newmantools.com/sti/stilh.htm#metricI haven't done business with them, but you might give them a try. For future reference, the iterative, washer-at-a-time pulling method you used is always hard on the threads involved because you never have a full thread engaged. When one of the parts is aluminium, it is just not the best way to do the pulling job. Provided you pull the lower bearing out with the shaft, and separate them afterward, you could probably use Tanaka's recommended method for removing the lower bearing from the aluminium adapter: Note that the wooden block must have a large enough hole in it for the shaft and bearing to pass through. This method would work most easily if you removed the bevel pinion beforehand, so the upper output shaft bearings could drop out along with the output shaft and its lower bearing. I note you did not remove the pinion because of difficulty removing the circlip.
|
|
|
These Outdoorking Forums have helped Thousands of people in finding answers to their equipment questions.
If you have received help, please consider making a donation to support the on-going running cost of these forums.
|
|
Forums145
Topics13,008
Posts106,960
Members17,633
|
Most Online16,069 Sep 19th, 2025
|
|
|
|