Need help?


Search OutdoorKing-Forum by entering Key Words Below



Who's Online Now
2 members (Dandare, 1 invisible), 1,648 guests, and 1,248 robots.
Key: Admin, Global Mod, Mod
Online Spare Parts


Online Store


Newest Topics
Victa 24 engine pulleys
by NormK - 19/10/25 08:49 PM
Rover Rancher 1766 headlight lens
by mm-mowers - 17/10/25 05:25 PM
Re rotomo crankshaft.
by Mops Mowers - 11/10/25 07:49 AM
Rotomo crank shaft
by Mops Mowers - 09/10/25 06:07 PM
Oregon corded chain saw
by NormK - 05/10/25 11:12 AM
Out there cutting again.
by MowingManiac - 05/10/25 10:03 AM
Topic Replies
Victa 24 engine pulleys
by NormK - 22/10/25 09:06 PM
The Rover Pro-Cut Chronicles
by DFB - 19/10/25 09:36 PM
Rover Rancher 1766 headlight lens
by NormK - 17/10/25 08:56 PM
Re rotomo crankshaft.
by Mops Mowers - 12/10/25 08:32 PM
Morrison Rapier 710 Advice Please!!
by maxwestern - 12/10/25 07:35 PM
Rotomo crank shaft
by Mops Mowers - 10/10/25 10:16 PM
Victa 5/26 Pulley configuration
by maxwestern - 10/10/25 07:42 PM
Oregon corded chain saw
by maxwestern - 06/10/25 10:26 PM
Previous Thread
Next Thread
Print Thread
Rate Thread
Hop To
Joined: May 2012
Posts: 7
Novice
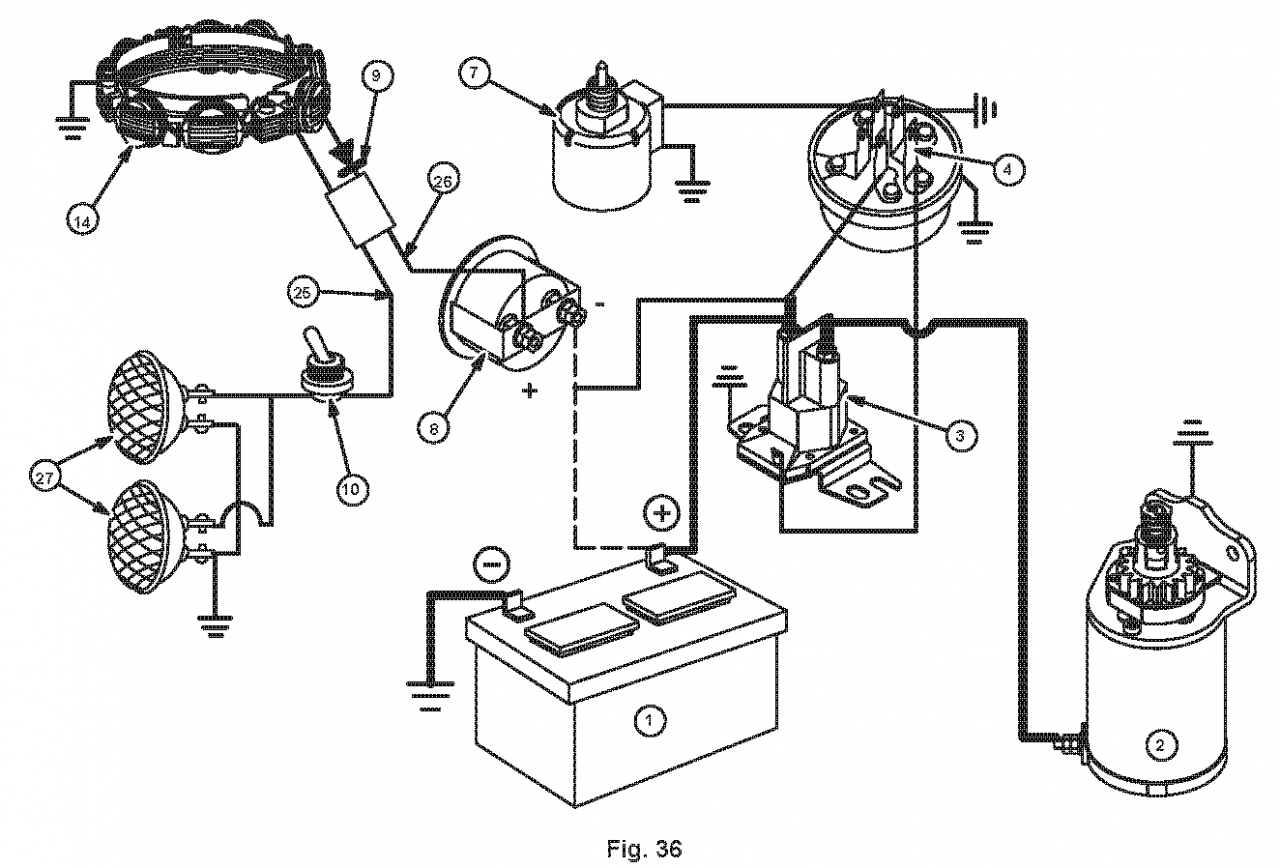
hi all , chasing a wiring schmatic for an elec start briggs 12hp I/C (281707-0128), Got some basic info from briggs-dioded wire and earth to charge ,but really need diagram showing keyed start, battery and relay if needed

Joined: Jan 2009
Posts: 6,926
Likes: 10
Pushrod Honda preferrer
***
It sounds as if you may need Figures 36-44 in the Briggs Single Cylinder L-Head tech manual, beginning on page 269. These cover wiring for either 5 or 6 terminal ignition switches supplied by Briggs and Stratton. This is Figure 36:
[Linked Image]

The other figures are variations on the same theme. Here is the legend/key:
[Linked Image]

Joined: May 2012
Posts: 7
Novice
great diagram thanks Grumpy


Moderated by  bigted, Bruce, CyberJack, Gadge, Mr Davis 

Link Copied to Clipboard
Forum Donation
These Outdoorking Forums have helped Thousands of people in finding answers to their equipment questions.

If you have received help, please consider making a donation to support the on-going running cost of these forums.

October
M T W T F S S
1 2 3 4 5
6 7 8 9 10 11 12
13 14 15 16 17 18 19
20 21 22 23 24 25 26
27 28 29 30 31
ShoutChat
Comment Guidelines: Do post respectful and insightful comments. Don't flame, hate, spam.
Newest Members
Maudebs, Greenarrow01, stkarl, Stannyboy, yaapeet30
17,640 Registered Users
Forum Statistics
Forums145
Topics13,009
Posts106,971
Members17,640
Most Online16,069
Sep 19th, 2025
OutdoorKing Showcase
20 Bucks from FB Marketplace
20 Bucks from FB Marketplace
by Return Rider, February 20
Victa Cortina 2 Shed Find
Victa Cortina 2 Shed Find
by Return Rider, January 25
My Rover Baron 45
My Rover Baron 45
by Maxwell_Rover_Baron, April 16
SHOWCASE - Precision Mowers - 2021
SHOWCASE - Precision Mowers - 2021
by CyberJack, April 14
SHOWCASE – Atco Rotary – Paul C - 2020
HOME |CONTACT US
Powered by UBB.threads™ PHP Forum Software 8.0.0
(Release build 20240826)
Responsive Width:

PHP: 8.3.26 Page Time: 0.056s Queries: 22 (0.051s) Memory: 0.6228 MB (Peak: 0.6447 MB) Data Comp: Zlib Server Time: 2025-10-23 02:38:26 UTC
Valid HTML 5 and Valid CSS