Need help?


Search OutdoorKing-Forum by entering Key Words Below



Who's Online Now
2 members (MowingManiac, PH1944), 1,007 guests, and 489 robots.
Key: Admin, Global Mod, Mod
Online Spare Parts


Online Store


Newest Topics
SB 45 new clutch for new motor
by DDD - 19/12/25 06:12 PM
xceed EX200G 2200W generator carbie ID please
by MowingManiac - 15/12/25 03:31 PM
Victa Lawnkeeper with Tecumseh motor
by MowingManiac - 14/12/25 10:53 PM
Gardener/ Hurricane info needed
by Wayne1957 - 14/12/25 05:45 PM
Any info - Gardener with Hurricane motor?
by Wayne1957 - 14/12/25 03:31 PM
Victa Craftsman Twin Sisters Find
by MowingManiac - 02/12/25 09:53 PM
Testing for spark
by NormK - 01/12/25 05:15 PM
Topic Replies
SB 45 new clutch for new motor
by maxwestern - 21/12/25 11:20 AM
Using Roundup At Half Rates On Common Couchgrass
by mice_elf - 18/12/25 10:43 PM
Star Poducts cylinder mower
by Brock O - 18/12/25 06:25 PM
xceed EX200G 2200W generator carbie ID please
by MowingManiac - 18/12/25 03:27 PM
Rover ranger friction drive set up
by KevinJP - 18/12/25 12:37 PM
Any info - Gardener with Hurricane motor?
by NormK - 16/12/25 08:41 PM
Gardener/ Hurricane info needed
by maxwestern - 16/12/25 06:50 PM
Testing for spark
by NormK - 16/12/25 04:18 PM
Victa Lawnkeeper with Tecumseh motor
by MowingManiac - 14/12/25 10:53 PM
Mower is making strange noise,diff problem?
by leslloyd - 12/12/25 03:33 PM
Previous Thread
Next Thread
Print Thread
Rate Thread
Hop To
Joined: Nov 2013
Posts: 6,938
Likes: 308
Forum Historian
Hello ODK members,

A mid-2012 sale on eBay for a little machine got me thinking. It was described as,
"VINTAGE AUSTRALIAN TAD LAWN MOWER SUPER RARE." The sale attracted 7 bids from 3 bidders
and it sold for a healthy sum. The sophisticated collector knew what this was.

It was a TAD, manufactured in Sydney from 1953 by D.A. Taplin.

I thought TAD might have been short for 'tadpole', given that this was a little 12 inch machine.
It was only later that I realised that TAD was the manufacturer's name but in reverse!

[Linked Image]

TAD's original factory was at 5 Renwick Lane, Leichardt. Phone: LM7509
I have some evidence that TAD did expand and become TAD INDUSTRIES PTY. LTD.,
122a Constitution Rd., Dulwich Hill, NSW.

I have found very little on this small manufacturer. I don't even know what Taplin's first
or middle name was [D.A.]. He's just a mystery.

TAD - DETAILS
TAD's venture into lawnmower manufacture appears to have been via mower conversion.
The earliest advertisements advertise "any roller mower converted".
This conversion entailed putting electric or petrol motors on existing reel/roller push mowers.

[Linked Image]
[Linked Image]

All this changed at some point and advertisements in about August of 1953 introduced the TAD mower.
Within a year of Victa's rotary, TAD were making their own electric and petrol machines.

Frequently TAD and Victa would advertise in the Sydney Morning Herald on the same days and
their advertisements would appear in close proximity to each others:-

[Linked Image]

In the next section I would like to discuss the TAD models.

All very interesting.
------------------------------------
JACK

Last edited by CyberJack; 17/01/17 08:44 PM.
Portal Box 6
Joined: Nov 2013
Posts: 6,938
Likes: 308
Forum Historian
TAD - MODELS
The TAD mowers appear to have 'borrowed' design features from the Australian Tecnico,
our most important Australian-designed electric mower.

For one thing, TADs had only 12 inches cut in the early years. They also had two rubber wheels at the
front and a roller at the back.

- 1/3 h.p. Junior electric at 43/10/- pounds.
- 1/2 h.p. Senior electric at 46/10/- pounds.
- 98cc Villiers petrol at 53/18/- pounds.

The striking thing in these ads. is that TAD's 12" petrol machine was sold at a higher price
than the 18" Victa:-

[Linked Image]
[Linked Image]

Here are some stock photos of the TAD petrol machine:-

[Linked Image]
[Linked Image]
[Linked Image]




Last edited by CyberJack; 29/12/13 12:22 PM.
Joined: Nov 2013
Posts: 6,938
Likes: 308
Forum Historian
THE LARGER TAD:-
I have not, as yet, been able to trace TAD mowers beyond 1956.
The last evidence shows that TADs were sold at a large department store - Anthony Hordern's.

I have no evidence that TADS sold outside of NSW, or, indeed, outside the Sydney area.
The late 1956 ad. below shows a new 16 inch TAD fitted with a Villiers.
NOTE how the price - at 59 pounds - was considerably dearer than the benchmark Victa 48 pounds.

[Linked Image]
[Linked Image]


Joined: Nov 2013
Posts: 6,938
Likes: 308
Forum Historian
[Linked Image]

Member Kye has brought to my attention a photo held by the
Museum of Victoria, that depicts a HG Palmer Salesman (?) and
a 'typical housewife' of the day.

This was a professional studio photograph - so both were probably paid models.
Note the elongated muffler that appears to have been of TAD origin (not Villiers).

This was in the day when free home demonstrations were the norm...

[Linked Image]
[Linked Image]

SOURCE: http://collections.museumvictoria.com.au/items/1763436

Joined: Nov 2013
Posts: 6,938
Likes: 308
Forum Historian
[Linked Image]
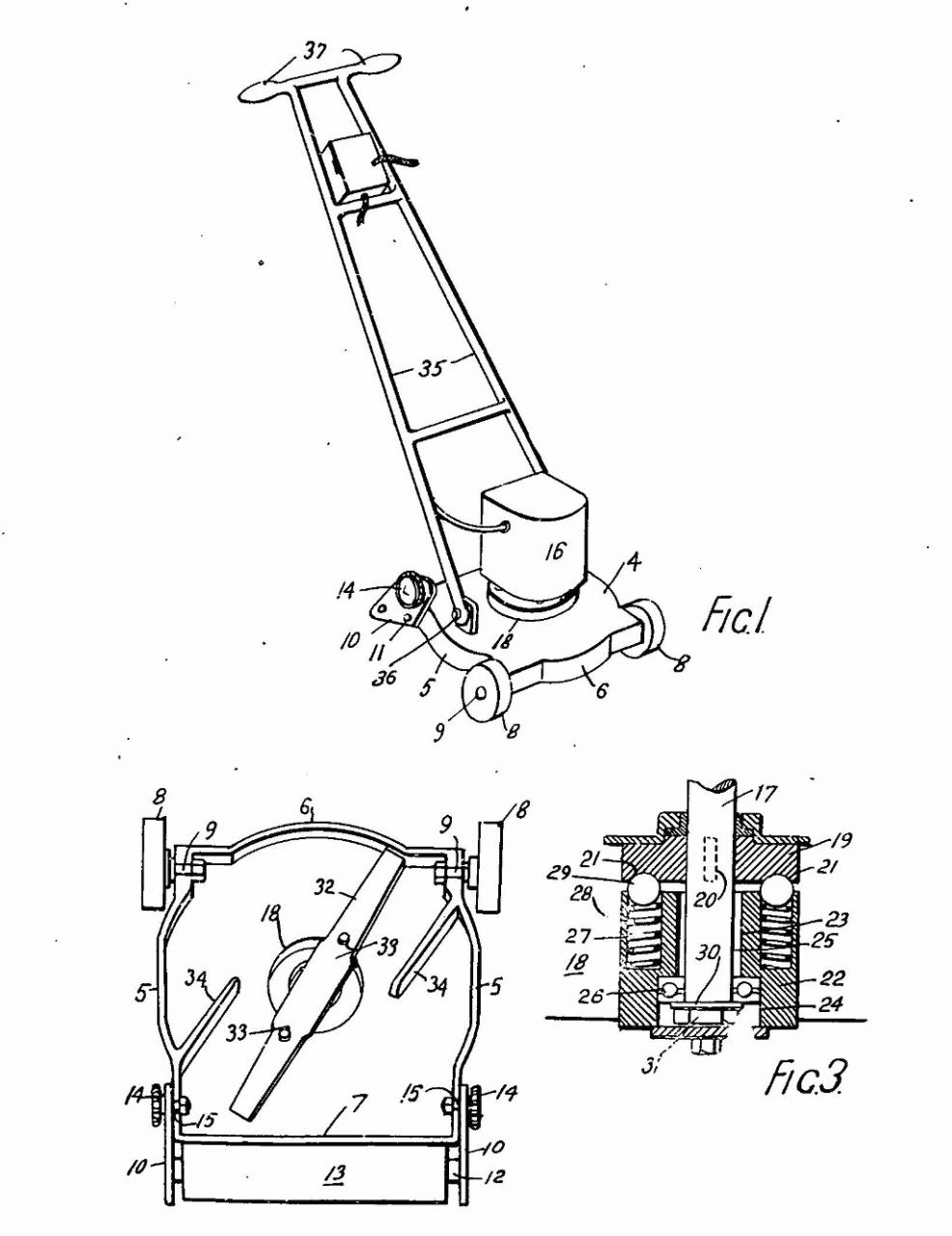
PATENT 20062 of 1953
It was an exciting find to discover the full name behind the TAD ...
he was Donald Alfred Taplin, of 56 Beauchamp Street, Marrickville, Sydney.

Note: this is the address presented in the first part of this article.
I guess it means Mr Taplin was operating from his home, converting
manual push mowers to power, before he started manufacture of the TAD.

His patent, 20062 of 1953, was for a safety clutch to protect electric motors and
petrol engines from shock loads. This was at a time when mower makers did not
appreciate or understand the more elegant and much simpler solution - the swing-back
blade.

[Linked Image]
[Linked Image]
[Linked Image]

Attachments
patent_20062_53.pdf (114.24 KB, 3 downloads)
PATENT 20062 of 1953 SAFETY CLUTCH by Donald Alfred Taplin
Joined: Nov 2013
Posts: 6,938
Likes: 308
Forum Historian
[Linked Image]
ODK Member Kye T runs a successful Facebook Page on Lawnmowers.
He has great historical knowledge on many collectables, and he
is always keen to share for the record.

Please visit his page here:-

https://www.facebook.com/groups/Vintagemowers/

The gallery images (below) show that TAD did survive to see the late 1950s.
This machine must date from late 1957 or a bit later.

They show a more modern TAD, with the Villiers 7F engine.
Note the more conventional design, but also note the pronounced,
raised discharge chute!

This is the TAD-Mow. Brilliant!
--------------------------
Jack

Attachments
tad_c1957_01.jpg (53.13 KB, 20 downloads)
tad_c1957_02.jpg (52.7 KB, 20 downloads)
tad_c1957_03.jpg (31.11 KB, 20 downloads)

Moderated by  Alan M, CyberJack, Mr Davis 

Link Copied to Clipboard
Forum Donation
These Outdoorking Forums have helped Thousands of people in finding answers to their equipment questions.

If you have received help, please consider making a donation to support the on-going running cost of these forums.

December
M T W T F S S
1 2 3 4 5 6 7
8 9 10 11 12 13 14
15 16 17 18 19 20 21
22 23 24 25 26 27 28
29 30 31
ShoutChat
Comment Guidelines: Do post respectful and insightful comments. Don't flame, hate, spam.
Newest Members
S1900S, Tom24, Brock O, Awilson1095, Ftpftpftppt
17,733 Registered Users
Forum Statistics
Forums145
Topics13,036
Posts107,135
Members17,734
Most Online16,069
Sep 19th, 2025
OutdoorKing Showcase
20 Bucks from FB Marketplace
20 Bucks from FB Marketplace
by Return Rider, February 20
Victa Cortina 2 Shed Find
Victa Cortina 2 Shed Find
by Return Rider, January 25
My Rover Baron 45
My Rover Baron 45
by Maxwell_Rover_Baron, April 16
SHOWCASE - Precision Mowers - 2021
SHOWCASE - Precision Mowers - 2021
by CyberJack, April 14
SHOWCASE – Atco Rotary – Paul C - 2020
HOME |CONTACT US
Powered by UBB.threads™ PHP Forum Software 8.0.0
(Release build 20240826)
Responsive Width:

PHP: 8.3.27 Page Time: 0.034s Queries: 29 (0.027s) Memory: 0.6524 MB (Peak: 0.7127 MB) Data Comp: Zlib Server Time: 2025-12-21 01:42:11 UTC
Valid HTML 5 and Valid CSS