|
1 members (MowingManiac),
2,771
guests, and
434
robots. |
|
Key:
Admin,
Global Mod,
Mod
|
|
|
|
Joined: Mar 2015
Posts: 249
Apprentice level 3
|
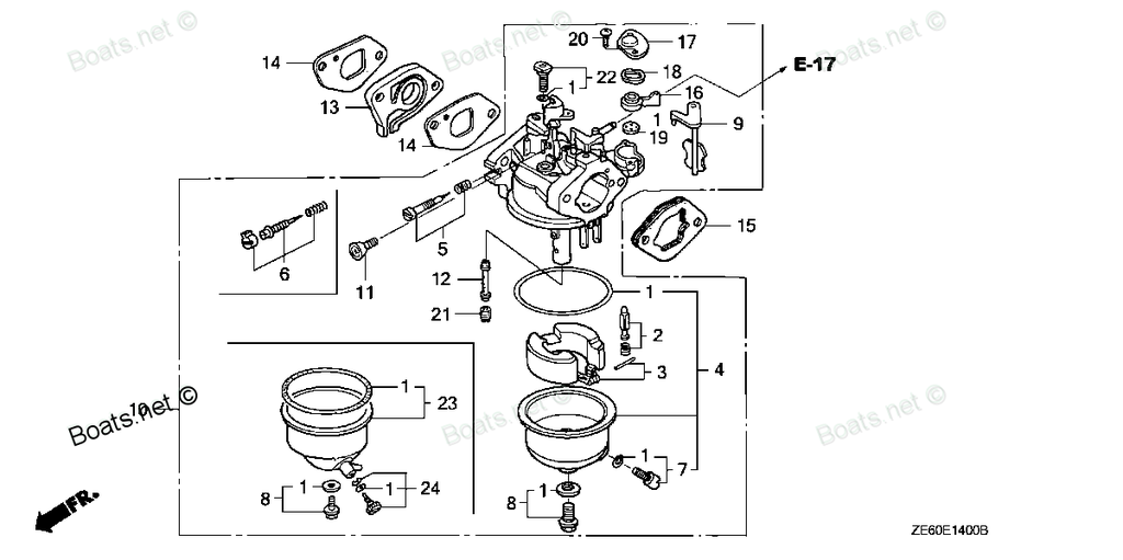
Hi guys, Long story short, I sold a cheap mower which had a copy honda engine. Mower works, I know it does, I used it myself, never had an issue and would never sell it as working if it didn't Customer, after a couple of days says when "fuel switch" is 'ON', it "pisses" fuel everywhere and won't start.. I'm just going to refund to prevent any issues.. though the question that brings me here is.. What exactly does this part of the carburetor do? I believe it's a Petcock(?) but is it used to turn fuel ON/OFF? I've always just assumed it was a choke that you turn 'ON' in colder whether to help start the mower, then turn off when started/warmed up? If left 'ON', can it flood the engine preventing the engine from firing over ? I probably should know this.. though still learning some parts of an engine/carb. Any info would be super.  (note: I know many people would say it's cheap "throw away" chonda and wound't bother with it.. though I don't believe in just throwing stuff away regardless of brand / make etc.. If it works.. it works.. and it does work..) Thanks 
|
|
|
|
|
Joined: Jan 2015
Posts: 1,545 Likes: 24
SENIOR TECHNICIAN
|
Customer, after a couple of days says when "fuel switch" is 'ON', it "pisses" fuel everywhere and won't start.. I'm just going to refund to prevent any issues.. though the question that brings me here is..
What exactly does this part of the carburetor do? I believe it's a Petcock(?) but is it used to turn fuel ON/OFF? It is not a Choke. Yes used to turn fuel off during long storage due the needle seat not staying 100% sealed off. Actually a common problem with most Honda that have worked on where engine either becomes hydro-locked or the oil is diluted with fuel. But as the problem the customer is describing the needle is not sealing off in the seat as should be doing. This area would need to looked at and determination made as to what is causing the problem. Sometimes it is just a hung needle or trash somehow got wedged in the area preventing sealing. Sometime even the needle seat maybe so worn that it needs replacing. Many Honda style here don't even seat available which means a new carb.
|
|
|
|
|
Joined: Mar 2015
Posts: 249
Apprentice level 3
|
It is not a Choke. Yes used to turn fuel off during long storage due the needle seat not staying 100% sealed off. Actually a common problem with most Honda that have worked on where engine either becomes hydro-locked or the oil is diluted with fuel. oh, thanks AVB  ..odd thing though.. it starts and runs fine with the lever in the 'OFF' position. As this is used to prevent fuel flow past that point.. what is the likely cause of allowing the fuel flow in 'OFF'?.. bad petcock gasket? With the common problem you mentioned, what's the main cause of that? excess fuel getting into the cylinder ? But as the problem the customer is describing the needle is not sealing off in the seat as should be doing. This area would need to looked at and determination made as to what is causing the problem. Sometimes it is just a hung needle or trash somehow got wedged in the area preventing sealing. Sometime even the needle seat maybe so worn that it needs replacing. Many Honda style here don't even seat available which means a new carb. Is there a way to tell if the seat or needle are worn ? Do these carbs have adjustable needles? if I recall.. I don't think it does (could be wrong), I think the needle just sits in the float. Are there any videos / reading material on working on / repairing these HONDA type carburetors ? Thanks again for the info, much appreciated 
|
|
|
|
|
Joined: Jan 2016
Posts: 8,171 Likes: 232
SENIOR TECHNICIAN
|
Widget, pull the carby off, remove the float bowl and then you can get at the needle to see if anything is visibly wrong. You can test the needle with the bowl removed by hooking up a fuel bottle to the inlet on the valve, shut it open it to see if it actually shuts the fuel off, then with the fuel switched on fuel should flow and by lifting the float fuel should stop flowing. This is the principle as to how it works
|
|
|
|
|
Joined: Jan 2015
Posts: 1,545 Likes: 24
SENIOR TECHNICIAN
|
Also you can used a pressure pump to apply 5-10 psi via the fuel inlet with the carburetor inverted to see if it maintains at least 5 psi without leak down. If it fails this test then you have leakage somewhere.
|
|
|
|
|
Joined: Mar 2015
Posts: 249
Apprentice level 3
|
Hey guys, thanks for the info, much appreciated  The buyer bought it around, I tested it here.. no problem.. started, ran, shut off fine. No leaks. Buyer took it back, but after using it, sent me a video of it dripping from the area between the carb and #13/14 Mower was switched to 'ON' and not running.. but when switched to 'OFF', leak stops. Q: Why would the carb continue to suck up fuel if mower isn't running? Does it have some sort of syphon effect like syphoning fuel from a car? Buyer's bringing it back, so Ill know more once I have it back and on the bench.
|
|
|
|
|
Joined: Jan 2016
Posts: 8,171 Likes: 232
SENIOR TECHNICIAN
|
I can only assume what you are saying, with the tap on and motor not running, fuel leaks out, perfectly natural if the float needle is not shutting off
|
|
|
|
|
Joined: Jan 2015
Posts: 1,545 Likes: 24
SENIOR TECHNICIAN
|
You probably find that if you do the pop off pressure test I suggested, you will find that there is a slow leak at float needle valve and seat. A good seal at this area must maintain least 5 psi of pressure with the carburetor inverted and just the weight of the float holding the valve closed.
I have seen seats where a hairline imperfection would leak. I mean one that I had to magnify to even see but my eyesight isn't the best either @ 58. It take time the float bowl to overfill which why a quick test doesn't show up the problem as this a seepage problem. Need patience to fix this one.
First you install a new needle and re-test. If it then fails the pressure test then it is the seat. Sometimes a little polishing compound works and cotton swab but most times they need a new seat. When you to get to this level it is time for a replacement carburetor as the Honda carburetors don't have replacement seats available.
|
|
|
|
|
Joined: Mar 2015
Posts: 249
Apprentice level 3
|
Thanks AVB  . Unfortunately I don't have an air compressor (yet.. but am currently looking at getting one).. perhaps there's a small fuel pump I can get (with adjustable pressure) that will allow me to connect to the inlet and pump ?? [EDIT] I came across this while googling.. eBay Fuel Pump #1 Apparently the pressure is 0.032-0.045 MPA(Megapascal?) which = 4.64psi - 6.52psi It's a cheapie and only comes with the pummp, but fuel lines i should have some lying around here something. Alternatively there's this one which comes with extra bits'n'pieces but $5 more.. not sure if i'll need most of the extras... eBay Fuel Pump #2 Having a read through your suggestion, Im just trying to picture it, but am having a hard time. Your saying, turn the carb upside down (with fuel bowl still on?) and pump fuel @5psi into the inlet into the carb ? Gravity should keep the needle in the seat and if there's a leak @5psi.. you know there's an issue with either needle, seat or both ? Regarding the polishing.. I actually watched a couple of videos with people doing the same thing with the seat area of a carb.. apparently they say it can work well. There was one video (trying to find) where a guy did just that with a bbq bamboo stick in a dremel + metal polish and apparently it worked like a charm.. might give that a shot too just in case... though what would be the chances of having to use a bigger/fatter tipped needle ?
Last edited by Widget; 14/02/17 04:49 AM.
|
|
|
|
|
Joined: Jan 2016
Posts: 8,171 Likes: 232
SENIOR TECHNICIAN
|
All I can ask is what is wrong with using good old Mr Gravity, after all he is the cause of it leaking now, why complicate matters?
|
|
|
|
|
Joined: Jan 2015
Posts: 1,545 Likes: 24
SENIOR TECHNICIAN
|
All I can ask is what is wrong with using good old Mr Gravity, after all he is the cause of it leaking now, why complicate matters? Not a thing NormK as long it works. I was looking at the professional way of testing in a small shop setup. I now home repair techs don't always need things like this but the pump setup will have other uses so it not a dedicated setup. Most of us do have vehicles that this will one person repairs much easier too especially bleeding brake systems. Around here it can be hard to get someone to take time to help to bleed brakes. I personally did repairs for 3 years before getting the tool but it came to a point that I could no longer do without it. It is just more control when using a air source as air will also seep better as liquid has more resistance. The problem is it can take longer to reveal leaks and if you gravity pressure is more then the pop off pressure it would defeat the purpose of the test. I even had leaks under air pressure that would stop for a short time when fuel was added to the system and would only leak over night when I was using the gravity supply tanks. With air pressure system with a gauge I have been find leaks within 30 minutes most times instead having to wait over night. As I said the holding pressure is around 5-7 psi and most carbs will pop off around 10 psi. Also with pressure inline you can check for slow leaks as its reading will slowly over time. With a gravity it is possible to open the valve while testing and have the pressure to just stay just above the seal off pressure therefore leaking and giving a false indication of a problem. Widget, What I am was referring as test equipment was not a pump for fuel but instead is a pump setup Similar to the MityVac MV8500 vacuum/pressure pump. It is the same setup that is use to test those small Walbro, Zama, and the like carburetors plus crankcases of many 2 cycles. Mityvac MV8500 Now there are cheaper plastic versions than this metal one. Also be careful being lead a stray and getting a vacuum only version as you do want to get the combo unit. There are times that you can find a good deal on these but it takes time. Locally they were wanting close 100 usd for mine but I was able to find it online for 52 usd including shipping at the time I purchased my tester. I did have a minor problem my unit when I got it as line adapters are molded and those area weren't as smooth as needed to seal well but that is an easy fix.
|
|
|
|
|
Joined: Mar 2015
Posts: 249
Apprentice level 3
|
Widget, What I am was referring as test equipment was not a pump for fuel but instead is a pump setup Similar to the MityVac MV8500 vacuum/pressure pump. It is the same setup that is use to test those small Walbro, Zama, and the like carburetors plus crankcases of many 2 cycles. Mityvac MV8500 Now there are cheaper plastic versions than this metal one. Also be careful being lead a stray and getting a vacuum only version as you do want to get the combo unit. There are times that you can find a good deal on these but it takes time. Locally they were wanting close 100 usd for mine but I was able to find it online for 52 usd including shipping at the time I purchased my tester. I did have a minor problem my unit when I got it as line adapters are molded and those area weren't as smooth as needed to seal well but that is an easy fix. Oh nice, thanks AVB :), that certainly looks like something that will come in handy.. a little pricey though. Being in Australia, the MITYVAC aus store is asking $118 for the kit MITYVAC Silverline Elite Kit (AUS) I checked out ebay, there are quite a few pumps.. but most of them seem to be just a vacuum pump.. but I did come cross a couple that 'might' work.. Vac/press pump 1 [note] it says " Features simple push/pull function for choice of pressure or vacuum testing" This next one looks the same as above, but doesn't mention of any function to choose vac or pressure like the 1st one.. vac/pressure tester 2 I've sent a couple of enquiries.. will have to see what they say.. Thanks again 
|
|
|
|
|
Joined: Jan 2015
Posts: 1,545 Likes: 24
SENIOR TECHNICIAN
|
Good luck with inquires. Others may chime in on this if they have used them as they may have used them. Since I have not even seen one in person I can't say anything good or bad about them. I am kinda a hands person when it comes to test equipment. I have seen both good and bad in generics as well premium brands.
|
|
|
|
|
Joined: Mar 2015
Posts: 249
Apprentice level 3
|
Hi all,
Disassembling the carb, I seem to have lost the little spring that goes onto the float needle.. anyone know if you can buy them separately ?
|
|
|
|
|
Joined: Jan 2012
Posts: 1,842 Likes: 14
Moderator
|
Going by that parts diagram, it's only available as a kit with the needle.
Cheers, Gadge
"ODK Mods can explain it to you, but they can't understand it for you..."
"Crazy can be medicated, ignorance can be educated - but there is no cure for stupid..."
|
|
|
|
|
Joined: Mar 2015
Posts: 249
Apprentice level 3
|
Going by that parts diagram, it's only available as a kit with the needle. Oh darn  , thank Gadge 
|
|
|
|
These Outdoorking Forums have helped Thousands of people in finding answers to their equipment questions.
If you have received help, please consider making a donation to support the on-going running cost of these forums.
|
|
|
Forums145
Topics13,064
Posts107,260
Members17,845
| |
Most Online16,069 Sep 19th, 2025
|
|
|
|